Вертикальный насос непрерывного действия LW обеспечивает эффективную откачку сточных вод с твердыми частицами, не беспокоясь о загрязнении сточных вод и промышленных применений. Вертикальная конструкция экономит пространство и позволяет избежать препятствий.
предмет номер :
LWЗаказ (Минимальный заказ) :
1Оплата :
Alipay PayPal westernunion T/T L/CПроисхождение продукта :
ChinaЦвет :
CustomizedПорт доставки :
shanghai shenzhen guangzhouВремя выполнения :
please contact 504893184@qq.com or CP +8613696510409Упаковка :
CustomizedМатериал :
Cast ironВертикальный насос для сточных вод без засорения
Наша компания разработала три основные линейки вертикальных канализационных насосов серии LW (WL). Эти насосы были модифицированы для удовлетворения различных потребностей пользователей и условий эксплуатации на основе гидравлической модели погружных канализационных насосов серии WQ (ранее QW). С момента своего появления серия LW приобрела широкую известность и признание на рынке благодаря передовой конструкции и надёжной работе.
Применение продукта
Канализационные станции в жилых районах, дренажные системы городских очистных сооружений, дренажные станции систем гражданской противовоздушной обороны, системы водоснабжения на водоочистных сооружениях, сброс сточных вод в больницах и гостиницах, объекты коммунального строительства, вспомогательное оборудование для горнодобывающей промышленности и геологоразведки, биогазовые установки в сельской местности и сельскохозяйственное орошение – всё это подходящие области применения этого продукта. Он способен транспортировать чистую воду, коррозионные среды, сточные воды и мусор с твердыми частицами.
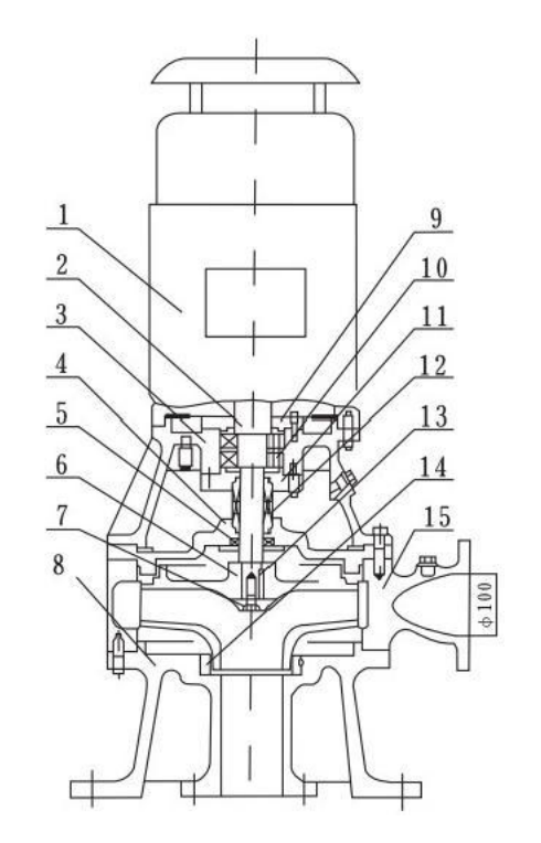
Структурная схема

| 1 | Мотор |
| 2 | Удлинительный вал |
| 3 | Корпус подшипника |
| 4 | Крышка насоса |
| 5 | Сальник |
| 6 | Рабочее колесо |
| 7 | Гайка крыльчатки |
| 8 | База |
| 9 | Крышка подшипника |
| 10 | Несущий |
| 11 | Седло механического уплотнения |
| 12 | Механическое уплотнение |
| 13 | Ключ |
| 14 | Износное кольцо корпуса насоса |
| 15 | Корпус насоса |